Kif taħdem il-virga tal-kejl tal-ferrovija?
A virga tal-kejl tal-ferrovijajaħdem billi jgħaqqad fiżikament żewġ binarji biex iżżommhom distanza speċifika 'l bogħod minn xulxin, u jipprevjenihom milli jinfirxu jew jitmejjel taħt il-forza tal-ferroviji. Dawn il-vireg huma tipikament imqiegħda fil-qiegħ tal-binarji u huma kruċjali biex tinżamm l-istabbiltà tal-binarji, speċjalment f'punti dgħajfa bħal kurvi, turnouts, jew żoni b'rabtiet mikula. Huma jipprovdu stabbiltà laterali, u jiżguraw li l-qies tal-binarji jibqa 'fil-kejl korrett u sikur biex jipprevjeni d-derailme

Kif taħdem il-virga tal-kejl tal-ferrovija?
- Tgħaqqad il-binarji:Virga tal-kejl hija bar tal-azzar li jgħaqqad iż-żewġ binarji paralleli flimkien fil-qiegħ.
- Iżomm il-kejl:Jipprevjeni li l-binarji jinfirxu 'l barra minħabba l-forzi laterali eżerċitati minn ferrovija. Dan ħafna drabi jsir billi tuża forza ta 'tensjoni fil-virga, li tiġbed il-binarji lejn xulxin.
- Iżżid l-istabbiltà:Billi żżomm il-binarji f'posthom, iżid b'mod sinifikanti l-istabbiltà laterali tal-binarju, u jagħmilha inqas probabbli li tmejjel jew bokkla.
- Issaħħaħ il-punti dgħajfa:Il-vireg tal-kejl jintużaw l-aktar f'żoni kritiċi fejn il-binarju huwa aktar suxxettibbli għall-moviment, bħal kurvi qawwija, swiċċijiet, jew sezzjonijiet b'rabtiet ta'-kwalità baxxa.

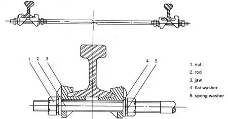
Vireg tal-kejl tal-binarji tal-ferrovijiSpeċifikazzjonijiet
- Applikazzjoni: 43, 50, 60, 75kg/m tal-ferrovija
- Temperatura tax-xogħol: -40 ~ 60 grad Celsius
- Standard: TB/T1780-86
- Tulijiet: 600mm, 762mm, 900mm, 1435mm, eċċ.

| Nru. | Parti | Kwantità | Speċifikazzjoni | Materjal |
| 1 | ġewż | 4 | M30 M36 | 3# |
| 2 | virga | 1 | M30 M36 | 3# |
| 3 | xedaq tal-ħadid | 4 | I tip II tip | KTH350-10 |
| 4 | washer ċatt | 4 | M30 M36 | 3# |
| 5 | washer tar-rebbiegħa | 4 | M30 M36 | 65Mn |
Skont it-tipi differenti tal-binarji, il-vireg ta 'l-irbit tal-gauge jistgħu jinqasmu fi: tip 8kg/m, tip 12kg/m, tip 15kg/m, tip 18kg/m, tip 22kg/m, tip 24kg/m, tip 30kg/m, tip 38kg/m, tip 43kg/m, tip ta' swiċċ 50kg/m, tip ta 'swiċċ 50kg/m użat.
Skont in-numri ta' turnout differenti, l-irbit tal-gauge jistgħu jinqasmu fi: Nru. 2 tip, Nru. 3 tip, Nru. 4 tip, Nru. 5 tip, Nru. 6 tip, Nru. 7 tip, Nru. 8 tip, Nru.
Jekk għandek rekwiżiti speċjali għal dimensjonijiet jew materjali ta 'saħħa ogħla, jekk jogħġbokikkuntattjanagħall-produzzjoni tad-dwana speċjali.

